BQ79616 16節串聯電池監測器TI
發布時間:2024-09-05 09:33:52 瀏覽:2026
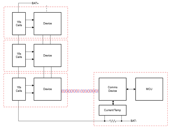
BQ79616 是TI推出的一款16節串聯電池監測器,專為高壓電池管理系統設計,適用于混合動力和電動汽車(HEV/EV)的動力總成系統。該器件集成了高精度的電池電壓測量、電池均衡和硬件保護功能,能夠提供精確的電池狀態監控和管理。
該器件的密封設計支持多種通信選項,便于用戶計算電池狀態(SOC),并包括溫度差分自動調整和恢復能力,以避免潛在的異常條件。

特性
1. 高精度:BQ79616 提供 ±1.5 mV 的 ADC 精度,確保電池電壓測量的準確性。
2. 快速測量:能夠在 128 μs 內完成所有電池通道的高精度電壓測量。
3. 先進技術:集成后 ADC 可配置數字低通濾波器和紅外通信功能,增強了數據處理的靈活性和通信能力。
4. 電池均衡:支持內部或外部電池均衡,最大可處理 240mA 的均衡電流,并具備自動??亢突謴涂刂乒δ?。
5. 隔離系統通信:采用環形架構,通過通信中繼器實現信息的有效傳輸。
6. 主機控制和通訊:支持 UART/SPI 主機接口,可與 TI 的 BQ79600 通信橋接器配合使用,內置 SPI 控制器。
應用
BQ79616 主要應用于電池管理系統(BMS),特別是在混合動力和電動動力總成系統中,以及帶有電池管理系統的儲能電池組。
封裝信息
- 型號:BQ79616
- 封裝:HTQFP(64 引腳)
- 尺寸:10.00mm x 10.00mm
上一篇: HFBM075100C高頻巴倫適配器iNRCORE
下一篇: Tillotson賽車化油器
推薦資訊
Gamma High Voltage RC系列高電壓電源具備卓越的動態調節能力、電弧保護功能及緊湊全封裝設計(尺寸3 1/4"×5 1/4"至6"×2 3/4",重量2.5-3.5磅),提供穩定可靠的高壓解決方案。其電氣特性包括寬輸入電壓(±24/28VDC)、可編程輸出(0至最大額定電壓)、高精度調節(線路/負載均0.01%)及超低紋波(0.05%),適用于CRT顯示器、光電倍增管和X射線管等場景,滿足嚴苛的工業與科研需求。
CUI VAD3系列是一款高可靠性、小體積的3W隔離式DC-DC轉換器,適用于工業控制、通信設備、醫療電子等領域,具備寬輸入電壓范圍(4.5V - 72V)、多種輸出電壓(單路/雙路)、效率達80%、采用24針DIP封裝、低紋波噪聲、短路保護等特性,滿足嚴苛環境下的電源需求,同時提供了各型號的詳細參數。
在線留言